Ersatzteilliste 1183893 -_01132 STEUERUNG FÜR FANGPROBE
1183893 -_01132 STEUERUNG FÜR FANGPROBE
Ersatzteillisten: ET353DEGB202203 | GEDA | GEDA 500 Z/ZP | Transportbühnen
Baugruppen: Steuerung und Bedieneinheiten
Unterstützung bei Ihrer Bestellung
Wenn Sie ein benötigtes Ersatzteil nicht finden oder es nicht vorrätig ist, kontaktieren Sie uns telefonisch unter +49 89 1499080 oder per E-Mail an info@fischbacher.de. Gerne erkundigen wir uns direkt beim Hersteller nach der Verfügbarkeit.
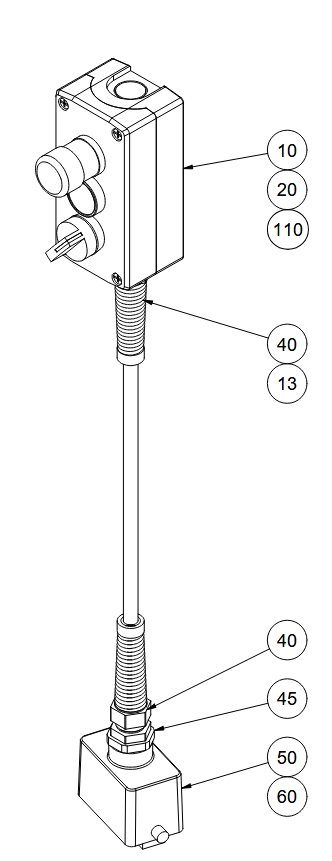
| Foto | Pos. | Art-Nr. | Name | Preis | Kaufen |
|---|---|---|---|---|---|
![]() | 10 | GEDA 22481 | GEDA Steuerung - 22481 | 160,06 € exkl. MwSt. | |
![]() | 13 | GEDA 19362 | GEDA Gegenmutter M20 - 19362 | 4,24 € exkl. MwSt. | |
![]() | 20 | GEDA 27999 | GEDA Schild -Fangprobe- - 27999 | 6,89 € exkl. MwSt. | |
![]() | 40 | GEDA 19706 | GEDA Kabelverschraubung M20 - 19706 | 4,24 € exkl. MwSt. | |
![]() | 40 | GEDA 19706 | GEDA Kabelverschraubung M20 - 19706 | 4,24 € exkl. MwSt. | |
![]() | 45 | GEDA 21644 | GEDA Reduktion M25,0-20,0 - 21644 | 4,24 € exkl. MwSt. | |
![]() | 50 | GEDA 24395 | GEDA Steckergehäuse 10-polig - 24395 | 34,98 € exkl. MwSt. | |
![]() | 60 | GEDA 14721 | GEDA Stifteinsatz 10-polig - 14721 | 25,44 € exkl. MwSt. | |
![]() | 110 | GEDA 18041 | GEDA Schild -Nur für Fangprobe- - 18041 | 5,72 € exkl. MwSt. |

















